揉她的双乳翻云覆雨视频,金瓶第1回双乳被吸,乳荡护士肉欲1~8集,波多野结衣乳巨码无在线观看,双乳被四个男人吃奶,王局长把乳罩解开吃胸的动态图

歡迎光臨鄭州榮盛窯爐耐火材料有限公司

危廢焚燒回轉窯技術及內襯耐材選擇

2023-01-28 16:45:48 點擊:
我國的危廢處置從1990 年開始起步,到1996 年初步形成相關管理體系,直至2008年才形成《國家危廢名錄》,2013年,兩高司法解釋,“非法排放、傾倒、處理3噸以上危廢將入刑”,被視為我國危廢處理行業啟動的關鍵點。2016年上半年,《土壤污染防治行動計劃》、《國家危險廢物名錄(2016年版)》等危廢處理相關專項規劃的相繼頒布實施,2017年,《“十三五”全國危險廢物規范化管理督查考核工作方案》頒布,2018年,生態環境部開展“清廢行動2018”計劃、工信部開展長江經濟帶工業綠色發展行動,2019年11月12日,生態環境部辦公廳發布《危險廢物焚燒污染控制標準(二次征求意見稿)》,2020年3月10日,國家標準《固體廢物玻璃化處理產物技術要求(征求意見稿)》公開征求意見等,均讓危廢處理行業發展提速,進一步催化危廢處理行業發展機遇。
 
隨著工業的發展,工業生產過程排放的危廢日益增多。2016年,214個大、中城市工業危廢產生量達3344.6萬噸,其中,工業危廢綜合利用量占利用處置總量的45.3%,處置、貯存分別占比43.8%和10.9%,有效地利用和處置是處理工業危廢的主要途徑。2018年,200個大、中城市工業危廢產生量達4643.0萬噸,預計2020年因為疫情原因,危廢將增至近1億噸。
 
我國危廢焚燒技術
實踐證明,回轉窯或水泥窯焚燒處理技術可以處理固體、液體和氣體狀態的工業危廢,是當今處理危廢廣泛的處置技術。截至2019年7月,我國已取得危廢經營許可證的水泥窯協同處置項目75個(不包含港澳臺地區),核準規模462.52萬噸。目前水泥窯協同處理危廢主要包括固體危廢、廢液以及RDF替代燃料等,主要從預熱器、分解爐、后窯口以及窯頭罩等部位處理,典型入料方式如圖1所示。與傳統填埋、焚燒的處理方式相比,水泥窯協同處置廢棄物有著明顯的優勢,但由于起步晚,技術、運營、監管等多方面的體系構建尚不健全。由于水泥工藝和產品質量管控日趨嚴格,很多危廢禁止在水泥窯中協同處置,而且協同危廢處理后對運營工況、煙氣成分、物料組份都造成很大變化和波動,加劇了水泥窯筒體腐蝕和系統內結圈或者結皮,縮短了耐火材料使用壽命,嚴重影響了水泥窯長周期穩定運行。
 
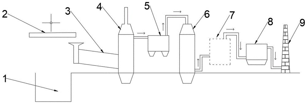
回轉窯焚燒爐是專業危廢焚燒裝置,如圖2所示,主體設備由回轉窯、二燃室、余熱鍋爐、急冷塔、脫酸、除塵系統構成。經過預處理的各類危廢通過不同喂料方式進入燃燒系統,在自身重力和回轉窯的連續旋轉作用下,物料和助燃空氣充分接觸,完成干燥、氣化和燃燒過程,然后殘留部分淬冷成灰渣。
 
圖1 水泥窯協同處理危廢系統1-篦冷機;2-窯頭罩;3-回轉窯;4-煙室;5-分解爐;6-預熱器
 

圖2 回轉窯焚燒爐系統1-料坑;2-進料系統;3-回轉窯;
4-二燃室;5-鍋爐;6-急冷塔;7-脫酸塔;8-除塵;9-煙囪
 
根據爐氣和固體流動方向的不同,或回轉窯中燃燒器的位置,回轉窯焚燒爐可以分為逆流和順流兩種形式。其中,燃燒器熱源在回轉窯的進料端,固體和煙氣走向相同,成為順流式;反之,燃燒器熱源在出料端,固體和煙氣走向相反,稱為逆流式。目前危廢焚燒系統主要是以順流式回轉窯的設計為主,逆流式回轉窯更適用于含水率高或熱值低的危廢等。回轉窯焚燒爐具有適用性廣特點,可同時處理固體、液體和氣體的危廢。環保要求日趨嚴格形勢下,專業回轉窯危廢焚燒爐優勢明顯。據統計,我國回轉窯危廢焚燒系統約有800條處理生產線,處理能力從20t/d到120t/d不等。2018年我國危廢焚燒處置產能規模達到616萬t/年,其中專業回轉窯焚燒占比53%,主要分布在浙江、江蘇、山東、河北、福建等地。
 
回轉窯危廢焚燒爐耐火內襯設計
 
1、回轉窯本體
回轉窯焚燒爐最關鍵設備即為回轉窯本體,因其是一種動態運轉設備,對內襯結構設計要求較高,首先要確保耐火內襯在動態高溫狀態運行下整體內襯的穩定性,防止耐火磚掉磚、抽簽等問題。對于危廢回轉窯系統而言,由于轉速比較慢,一般在1轉/分以下,可以根據廠房設計和節能要求選擇單層磚、雙層磚、復合磚和整體澆注等不同結構,如圖3所示。回轉窯耐火材料總厚度一般是250-300mm不等,其中工作層耐火磚材質一般根據處理溫度和危廢種類不同,可以選擇高鋁質、剛玉莫來石質以及鉻鋯剛玉質耐火材料等。
 
 
圖3 回轉窯內襯設計
 
采用厚度230-300mm單層結構時,由于耐火材料導熱系數大多在1.7-2.0以上,后期高溫區窯外壁溫度達到350℃以上,但是整體結構穩定,適合于回轉窯在室外的項目。采用隔熱磚和耐火磚雙層結構,因為隔熱磚導熱系數低,能起到降低窯皮溫度作用,窯外壁溫度可以控制在220℃左右甚至以下,節能效果好,但是對施工要求較高,適合于室內項目。這里要注意隔熱磚強度一般要求大于20MPa,隔熱磚厚度設計不能低于50mm。既要達到單層磚的穩定性,又要降低外壁溫度,可以設計復合磚,即工作面是剛玉磚、鉻剛玉磚,背面是氧化鋁空心球、高鋁或者粘土質,隔熱層厚度約為50-70mm。這種產品生產效率低,而且由于工作層和隔熱層材質熱膨脹系數和燒結收縮率不同,因此,在連接處容易產生微裂紋,廢品率較高。
 
鑒于此,可以采用凹槽型復合磚設計,如圖4所示,工作層材質不變,尾部開槽后填充納米板等絕熱材料。這種凹槽磚型復合磚,不僅生產和施工方便,而且可以取得降低筒體外壁溫度30-50℃左右效果。
 
圖4 凹槽磚型設計示意圖
 
另外,部分回轉窯采用輕質澆注料或者纖維板等作為隔材料,工作層采用重質澆注料(金屬抓釘錨固)雙層澆注結構,可以合理控制回轉窯外壁溫度。該結構采用金屬件把耐火材料和筒體連為一體,不存在耐火磚脫落問題,但是金屬件焊接質量和澆注料中水份烘干排出是關鍵。
 
表1 幾種回轉窯設計方案優缺點
 
以上幾種設計方案優缺點如表1所示。相比較而言,耐火磚方案檢修和更換方便,受環境和人為因素影響較小。現在新建項目回轉窯基本都是室外設計,隨著提產和環保要求,采用單層結構穩定性較好,高溫區可以考慮凹槽復合磚方式,降低外壁溫度。而且從防腐蝕角度,筒體外壁溫度控制在160-320℃區間,比較合理。
 
2、二燃室
二燃室主要功能是對煙氣進行二次燃燒處理,可燃成份、飛灰顆粒以及二噁英等焚燒分解,物理和化學反應同時存在,反應劇烈。二燃室一般包括耐火材料、保溫材料和絕熱材料。其中,耐火材料是指工作層重質澆注料、可塑料或者耐火磚等,保溫材料是指保溫澆注料和保溫磚等,絕熱材料是指硅酸鈣板、陶瓷纖維板以及納米板等。目前二燃室內襯設計主要包括三種方式,如圖5所示:1)方案一,包括耐火材料、保溫材料和絕熱材料;這種三層結構設計,以總厚度450mm為例,外壁溫度為80-90℃。2)方案二,包括耐火材料和保溫材料。該結構外壁溫度較高,以305mm總厚為例,溫度約達到150℃。3)方案三,包括耐火材料和絕熱材料。這種方案介于前兩種方案之間,以270mm總厚為例,外壁溫度約為110℃以上。一般而言,二燃室溫度約為1100-1200℃,燃燒器局部溫度甚至達到1300℃以上,所以工作層選擇剛玉莫來石質即可滿足使用要求,燃燒器區域工作層建議使用剛玉質或者鉻剛玉質材料。相比較而言,方案一的三層結構設計穩定性好,不容易因漏氣或者串火,導致筒體高溫腐蝕或者超溫變形而停爐檢修。
 
圖5 二燃室典型耐火內襯設計
 
3、其他部位
余熱鍋爐部分主要是灰斗、集箱、頂部密封以及出口煙道需要使用部分耐磨澆注料,其中灰斗采用絕熱材料和耐磨澆注料雙層結果較多,總厚度一般在200-250mm。
 
急冷塔使用耐酸澆注料或者耐酸膠泥,頂部往下約2米區域溫度較高可以采用25mm絕熱材料作為隔熱層,內襯總厚度100mm即可。
 
典型回轉窯危廢工藝與耐材設計
根據現場調研發現,耐火材料損毀主要集中于回轉窯本體區域。危廢焚燒主要包括以下幾種典型處理工藝,針對此,提出以下設計優化建議。
 
1、處理含水率高物料
進窯物料含水率高,進料端耐火材料熱剝落嚴重,熱震穩定性好的莫來石質、剛玉莫來石質、剛玉碳化硅質等耐火材料適用于此區域。
 
2、窯頭廢液處理量大、霧化不好
一般窯頭通過霧化槍處理廢液,焚燒區域主要在干燥段,受設備影響如果霧化效果不好時,該區域耐火材料也會出現剝落損毀,莫來石質、剛玉莫來石質、剛玉碳化硅質材料同樣適用于此。運行時,一般要增加檢查霧化設備頻次,同時廢液處理量不超過30%為宜。
 
3、鐵皮(桶)等硬料處理量大
鐵桶等物料硬度大,回轉窯轉速慢,物料在窯內反復旋轉造成進料區機械磨損嚴重。選擇強度高、耐磨性更好的剛玉碳化硅質耐火材料使用效果良好。
 
4、含低熔點鹽量高的物料
物料含K、Na鹽量大于5%以上后,熔點較低,容易形成高溫熔渣,對耐火材料滲透、侵蝕嚴重。出現高溫熔渣時,高溫區耐火材料選擇鉻鋯剛玉質較為合適,一般Cr2O3含量為3-10%不等。
 
5、含氟量高的物料
物料中含氟比例較高,達1-4%時,如式(1)所示,由于F和耐火材料中Si很容易反應形成SiF4氣化,造成襯里基質結構破壞,快速侵蝕;要嚴格控制耐火材料中雜質含量尤其是二氧化硅含量,采用Cr2O3含量為9-15%鉻剛玉材料,可以滿足回轉窯正常運行需要。
 
SiO2 + 4HF = SiF4↑ + 2H2O (1)
 
結語
危廢焚燒是新興領域,其中危廢種類復雜繁多,物性、熱值差異較大,回轉窯和二燃室內襯根據需要,設計形式多樣。隨著國家對危廢的監管力度加大,大型回轉窯焚燒技術將在危廢處理中得到更廣泛的應用,對回轉窯焚燒爐耐火材料選型和設計提出了挑戰。
返回
? 欢迎光临: 海淀区| 望奎县| 黄石市| 新昌县| 承德县| 弋阳县| 城固县| 阳东县| 温州市| 黄陵县| 盘山县| 芦山县| 德州市| 友谊县| 稻城县| 柳林县| 崇信县| 万州区| 霍山县| 隆化县| 同江市| 西充县| 高平市| 许昌市| 龙游县| 边坝县| 寿光市| 宣威市| 临汾市| 昭觉县| 同德县| 敖汉旗| 仙游县| 阳春市| 天祝| 广宗县| 姜堰市| 平顶山市| 尉犁县| 淮北市| 镇远县|